Wodtke Zugumlenkung diverse Modelle

Wodtke Zugumlenkung – günstig online bestellen

Wodtke Bo Zugumlenkung oben

Wodtke Bo Zugumlenkung oben

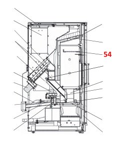
Original Zugumlenkung oben für den Kaminofen Wodtke Bo KK80-1

Wodtke Bo KK80-1 Zugumlenkung oben Eckdaten:

  • Rauchgasumlenkung, Umlenkung
  • Material Stahl
  • Position 6 in der Explosionszeichnung
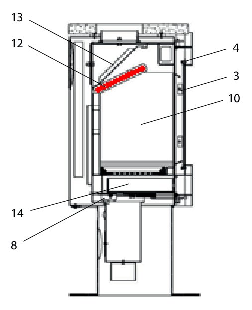
Wodtke Bo Zugumlenkung unten

Wodtke Bo Zugumlenkung unten

Original Zugumlenkung unten für den Kaminofen Wodtke Bo KK80-1

Wodtke Bo KK80-1 Zugumlenkung unten Eckdaten:

  • Rauchgasumlenkung, Prallplatte
  • Maße (B/L/H) 195/185 mm x 320/290 mm x 30 mm
  • Material Vermiculite
  • Position 7 in der Explosionszeichnung
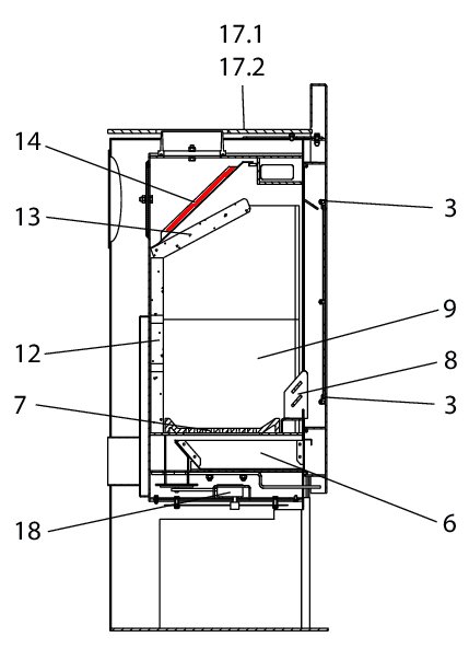
Wodtke Centro Zugumlenkung oben

Wodtke Centro Zugumlenkung oben

Original Zugumlenkung oben für den Kaminofen Wodtke Centro K120A

Wodtke Centro K120A Zugumlenkung oben Eckdaten:

  • Umlenkung, Flammenschild
  • Material Stahl
  • Position 13 in der Explosionszeichnung
Wodtke Centro Zugumlenkung unten

Wodtke Centro Zugumlenkung unten

Original Zugumlenkung unten für den Kaminofen Wodtke Centro K120A

Wodtke Centro K120A Zugumlenkung unten Eckdaten:

  • Rauchumlenkung, Flammenschild
  • Position 12 in der Explosionszeichnung
Wodtke Club 11 Zugumlenkung mittig

Wodtke Club 11 Zugumlenkung mittig

Original Zugumlenkung mittig für den Kaminofen Wodtke Club 11

Wodtke Club 11 Zugumlenkung mittig Eckdaten:

  • Rauchumlenkung, Umlenkung
  • Maße (B/L/H) 280 mm x 196 mm x 20 mm
  • Material Vermiculite
  • Position 18 in der Explosionszeichnung
Wodtke Club 11 Zugumlenkung oben

Wodtke Club 11 Zugumlenkung oben

Original Zugumlenkung oben für den Kaminofen Wodtke Club 11

  • 2-teiliges Set

Wodtke Club 11 Zugumlenkung oben Eckdaten:

  • Rauchumlenkung, Flammenschild
  • Material Vermiculite
  • Position 19 in der Explosionszeichnung
Wodtke Club 11 Zugumlenkung unten

Wodtke Club 11 Zugumlenkung unten

Original Zugumlenkung unten für den Kaminofen Wodtke Club 11

Wodtke Club 11 Zugumlenkung unten Eckdaten:

  • Prallplatte, Umlenkung
  • Maße (B/L/H) 280 mm x 280 mm x 30 mm
  • Material Vermiculite
  • Position 17 in der Explosionszeichnung
Wodtke Club 9 Zugumlenkung mittig

Wodtke Club 9 Zugumlenkung mittig

Original Zugumlenkung mittig für den Wodtke Club 9

Wodtke Club 9 Zugumlenkung mittig Eckdaten:

  • Rauchgasumlenkung, Flammenschild
  • Maße (B/L/H) 280 mm x 196 mm x 20 mm
  • Material Vermiculite
  • Position 18 in der Explosionszeichnung
Wodtke Club 9 Zugumlenkung oben

Wodtke Club 9 Zugumlenkung oben

Original Zugumlenkung oben für den Kaminofen Wodtke Club 9

  • 2-teiliges Set

Wodtke Club 9 Zugumlenkung oben Eckdaten:

  • Prallplatte, Flammenschild
  • Material Vermiculite
  • Position 19 in der Explosionszeichnung
Wodtke Club 9 Zugumlenkung unten

Wodtke Club 9 Zugumlenkung unten

Original Zugumlenkung unten für den Kaminofen Wodtke Club 9

Wodtke Club 9 Zugumlenkung unten Eckdaten:

  • Rauchgasumlenkung, Rauchumlenkung
  • Maße (B/L/H) 280 mm x 280 mm x 30 mm
  • Material Vermiculite
  • Position 17 in der Explosionszeichnung
Wodtke Cookie Zugumlenkung

Wodtke Cookie Zugumlenkung

Original Zugumlenkung für den Kaminofen Wodtke Cookie H 01

Wodtke Cookie H 01 Zugumlenkung Eckdaten:

  • Prallplatte, Umlenkung
  • Maße (B/L/H) 235 mm x 209 mm x 20 mm
  • Material Vermiculite
  • Form rechteckig
  • Position 6 in der Explosionszeichnung
Wodtke Copa Zugumlenkung oben

Wodtke Copa Zugumlenkung oben

Original Zugumlenkung oben für den Kaminofen Wodtke Copa KK94

Wodtke Copa KK94 Zugumlenkung oben Eckdaten:

  • Rauchgasumlenkung, Prallplatte
  • Material Stahl
  • Position 14 in der Explosionszeichnung
Wodtke crazy.nrg air+ Zugumlenkung

Wodtke crazy.nrg air+ Zugumlenkung

Original Zugumlenkung für den Pelletofen Wodtke crazy.nrg air+

Wodtke crazy.nrg air+ Zugumlenkung Eckdaten:

  • Prallplatte, Umlenkung
  • Position 33 in der Explosionszeichnung
Wodtke CW 21 air+ Zugumlenkung

Wodtke CW 21 air+ Zugumlenkung

Original Zugumlenkung für den Pelletofen Wodtke CW 21 air+ PO 04.7 E

Wodtke CW 21 air+ PO 04.7 E Zugumlenkung Eckdaten:

  • Rauchgasumlenkung, Rauchumlenkung
  • Maße (B/L/H) 304 mm x 163 mm x 6 mm
  • Material Stahl
  • Position 8 in der Explosionszeichnung
Wodtke dadoo Zugumlenkung oben

Wodtke dadoo Zugumlenkung oben

Original Zugumlenkung oben für den Kaminofen Wodtke dadoo KK93

Wodtke dadoo KK93 Zugumlenkung oben Eckdaten:

  • Prallplatte, Rauchumlenkung
  • Material Vermiculite
  • Position 18 in der Explosionszeichnung
Wodtke dadoo Zugumlenkung unten

Wodtke dadoo Zugumlenkung unten

Original Zugumlenkung unten für den Kaminofen Wodtke dadoo KK93

Wodtke dadoo KK93 Zugumlenkung unten Eckdaten:

  • Umlenkung, Flammenschild
  • Material Vermiculite
  • Position 17 in der Explosionszeichnung
Wodtke Dance Zugumlenkung oben hinten

Wodtke Dance Zugumlenkung oben hinten

Original Zugumlenkung oben hinten für den Kaminofen Wodtke Dance KK99

Wodtke Dance KK99 Zugumlenkung oben hinten Eckdaten:

  • Rauchgasumlenkung, Umlenkung
  • Maße (B/L/H) 164/325 mm x 98 mm x 22 mm
  • Material Vermiculite
  • Position 15 in der Explosionszeichnung
Wodtke Dance Zugumlenkung unten

Wodtke Dance Zugumlenkung unten

Original Zugumlenkung unten für den Kaminofen Wodtke Dance

Wodtke Dance Zugumlenkung unten Eckdaten:

  • Rauchgasumlenkung, Rauchumlenkung
  • Maße (B/L/H) 300 mm x 246 mm x 30 mm
  • Material Vermiculite
  • Position 14 in der Explosionszeichnung
Wodtke Dandy Zugumlenkung oben

Wodtke Dandy Zugumlenkung oben

Original Zugumlenkung oben für den Kaminofen Wodtke Dandy

Wodtke Dandy Zugumlenkung oben Eckdaten:

  • Prallplatte, Umlenkung
  • Material Stahl
  • Position 6 in der Explosionszeichnung
Wodtke Dandy Zugumlenkung unten

Wodtke Dandy Zugumlenkung unten

Original Zugumlenkung unten für den Kaminofen Wodtke Dandy KK80-2

Wodtke Dandy KK80-2 Zugumlenkung unten Eckdaten:

  • Rauchumlenkung, Flammenschild
  • Maße (B/L/H) 195/185 mm x 320/290 mm x 30 mm
  • Material Vermiculite
  • Position 7 in der Explosionszeichnung
Wodtke Dave air+ Zugumlenkung

Wodtke Dave air+ Zugumlenkung

Original Zugumlenkung für den Pelletofen Wodtke Dave air+

Wodtke Dave air+ Zugumlenkung Eckdaten:

  • Prallplatte, Rauchumlenkung
  • Maße (B/L/H) 304 mm x 136 mm x 6 mm
  • Material Stahl
  • Position 8 in der Explosionszeichnung
Wodtke Donna Zugumlenkung oben hinten

Wodtke Donna Zugumlenkung oben hinten

Original Zugumlenkung oben hinten für den Kaminofen Wodtke Donna KK55

Wodtke Donna KK55 Zugumlenkung oben hinten Eckdaten:

  • Rauchumlenkung, Flammenschild
  • Maße (B/L/H) 164/325 mm x 98 mm x 22 mm
  • Material Vermiculite
  • Position 16 in der Explosionszeichnung
Wodtke Donna Zugumlenkung oben vorne

Wodtke Donna Zugumlenkung oben vorne

Original Zugumlenkung oben vorne für den Kaminofen Wodtke Donna KK55

Wodtke Donna KK55 Zugumlenkung oben vorne Eckdaten:

  • Rauchgasumlenkung, Rauchumlenkung
  • Maße (B/L/H) 325 mm x 97 mm x 22 mm
  • Material Vermiculite
  • Position 17 in der Explosionszeichnung
Wodtke Donna Zugumlenkung unten Set

Wodtke Donna Zugumlenkung unten Set

Original Zugumlenkung unten Set für den Kaminofen Wodtke Donna

  • Dieses Set ersetzt den bisherigen Gussrahmen samt Zugumlenkung unten. (ist nun anders konstruiert)
  • 3-teiliges Set

Wodtke Donna Zugumlenkung unten Eckdaten:

  • Brennraumsteine, Feuerraumsteine
  • Material Vermiculite
  • gelochter Seitenstein links oben
  • gelochter Seitenstein rechts oben
  • Zugumlenkung unten
Wodtke Ego Zugumlenkung

Wodtke Ego Zugumlenkung

Original Zugumlenkung für den Kaminofen Wodtke Ego KK40-2

Wodtke Ego KK40-2 Zugumlenkung Eckdaten:

  • Prallplatte, Umlenkung
  • Maße (B/L/H) 370 mm x 295 mm x 67 mm
  • Material Stahl
  • Position 15 in der Explosionszeichnung
Wodtke Fire SL Zugumlenkung links

Wodtke Fire SL Zugumlenkung links

Original Zugumlenkung links für den Kaminofen Wodtke Fire SL

Wodtke Fire SL Zugumlenkung links Eckdaten:

  • Rauchumlenkung, Umlenkung
  • Maße (B/L/H) 190 mm x 82/260 mm x 25 mm
  • Material Vermiculite
Wodtke Fire SL Zugumlenkung mittig

Wodtke Fire SL Zugumlenkung mittig

Original Zugumlenkung mittig für den Kaminofen Wodtke Fire SL

Wodtke Fire SL Zugumlenkung mittig Eckdaten:

  • Rauchgasumlenkung, Flammenschild
  • Maße (B/L/H) 360/420 mm x 260 mm x 25 mm
  • Material Vermiculite
Wodtke Fire SL Zugumlenkung rechts

Wodtke Fire SL Zugumlenkung rechts

Original Zugumlenkung rechts für den Kaminofen Wodtke Fire SL

Wodtke Fire SL Zugumlenkung rechts Eckdaten:

  • Rauchumlenkung, Flammenschild
  • Maße (B/L/H) 190 mm x 82/260 mm x 25 mm
  • Material Vermiculite
Wodtke Frank air+ Zugumlenkung

Wodtke Frank air+ Zugumlenkung

Original Zugumlenkung für den Pelletofen Wodtke Frank air+

Wodtke Frank air+ Zugumlenkung Eckdaten:

  • Rauchgasumlenkung, Rauchumlenkung
  • Maße (B/L/H) 304 mm x 136 mm x 6 mm
  • Material Stahl
  • Position 7 in der Explosionszeichnung
Wodtke Giro Zugumlenkung unten

Wodtke Giro Zugumlenkung unten

Original Zugumlenkung unten für den Kaminofen Wodtke Giro KK51W

Wodtke Giro KK51W Zugumlenkung unten Eckdaten:

  • Rauchgasumlenkung, Umlenkung
  • Vermiculitestein
  • Maße (B/L/H) 328 mm x 224 mm x 30 mm
  • Material Vermiculite
Wodtke H 01 Zugumlenkung

Wodtke H 01 Zugumlenkung

Original Zugumlenkung für den Kaminofen Wodtke H 01

Wodtke H 01 Zugumlenkung Eckdaten:

  • Rauchgasumlenkung, Umlenkung
  • Maße (B/L/H) 235 mm x 209 mm x 20 mm
  • Material Vermiculite
  • Position 6 in der Explosionszeichnung
Wodtke Happy Zugumlenkung oben hinten

Wodtke Happy Zugumlenkung oben hinten

Original Zugumlenkung oben hinten für den Kaminofen Wodtke Happy KK75

Wodtke Happy KK75 Zugumlenkung oben hinten Eckdaten:

  • Rauchgasumlenkung, Umlenkung
  • Material Vermiculite
Wodtke Happy Zugumlenkung oben vorne

Wodtke Happy Zugumlenkung oben vorne

Original Zugumlenkung oben vorne für den Kaminofen Wodtke Happy KK75

Wodtke Happy KK75 Zugumlenkung oben vorne Eckdaten:

  • Rauchgasumlenkung, Rauchumlenkung
  • Material Vermiculite
Wodtke Happy Zugumlenkung unten

Wodtke Happy Zugumlenkung unten

Original Zugumlenkung unten für den Kaminofen Wodtke Happy KK75

Wodtke Happy KK75 Zugumlenkung unten Eckdaten:

  • Rauchgasumlenkung, Umlenkung
  • Material Vermiculite
Wodtke Homing Zugumlenkung unten

Wodtke Homing Zugumlenkung unten

Original Zugumlenkung unten für den Kaminofen Wodtke Homing KK 70

Wodtke Homing KK 70 Zugumlenkung unten Eckdaten:

  • Rauchgasumlenkung, Flammenschild
Wodtke Hot Box Zugumlenkung

Wodtke Hot Box Zugumlenkung

Original Zugumlenkung für den Kaminofen Wodtke Hot Box

Wodtke Hot Box Zugumlenkung Eckdaten:

  • Prallplatte, Rauchumlenkung
  • Maße (B/L/H) 370 mm x 295 mm x 67 mm
  • Material Stahl
  • Position 15 in der Explosionszeichnung
Wodtke ivo.safe water+ Zugumlenkung

Wodtke ivo.safe water+ Zugumlenkung

Original Zugumlenkung für den Pelletofen Wodtke ivo.safe water+

Wodtke ivo.safe water+ Zugumlenkung Eckdaten:

  • Rauchgasumlenkung, Prallplatte
  • Position 54 in der Explosionszeichnung
Wodtke ixpower e8 air+ Zugumlenkung

Wodtke ixpower e8 air+ Zugumlenkung

Original Zugumlenkung für den Pelletofen Wodtke ixpower e8 air+

Wodtke ixpower e8 air+ Zugumlenkung Eckdaten:

  • Rauchumlenkung, Flammenschild
  • Position 45 in der Explosionszeichnung
Wodtke K 120A Zugumlenkung oben

Wodtke K 120A Zugumlenkung oben

Original Zugumlenkung oben für den Kaminofen Wodtke K 120A

Wodtke K 120A Zugumlenkung oben Eckdaten:

  • Prallplatte, Rauchumlenkung
  • Material Stahl
  • Position 13 in der Explosionszeichnung
Wodtke K 120A Zugumlenkung unten

Wodtke K 120A Zugumlenkung unten

Original Zugumlenkung unten für den Kaminofen Wodtke K 120A

Wodtke K 120A Zugumlenkung unten Eckdaten:

  • Prallplatte, Flammenschild
  • Material Vermiculite
  • Position 12 in der Explosionszeichnung
Wodtke KK 01.9 Zugumlenkung oben

Wodtke KK 01.9 Zugumlenkung oben

Original Zugumlenkung oben für den Kaminofen Wodtke KK 01.9

Wodtke KK 01.9 Zugumlenkung oben Eckdaten:

  • Rauchumlenkung, Umlenkung
  • Maße (B/L/H) 65/391 mm x 139 mm x 20 mm
  • Material Vermiculite
  • Position 7 in der Explosionszeichnung
Wodtke KK 50-10 RW Zugumlenkung mittig links

Wodtke KK 50-10 RW Zugumlenkung mittig links

Original Zugumlenkung mittig links für den Kaminofen Wodtke KK 50-10 RW

Wodtke KK 50-10 RW Zugumlenkung mittig links Eckdaten:

  • Umlenkung, Flammenschild
  • Material Stahl
  • Position 16 in der Explosionszeichnung
Wodtke KK 50-10 RW Zugumlenkung mittig rechts

Wodtke KK 50-10 RW Zugumlenkung mittig rechts

Original Zugumlenkung mittig rechts für den Kaminofen Wodtke KK 50-10 RW

Wodtke KK 50-10 RW Zugumlenkung mittig rechts Eckdaten:

  • Prallplatte, Rauchumlenkung
  • Material Stahl
  • Position 21 in der Explosionszeichnung
Wodtke KK 50-10 RW Zugumlenkung oben links

Wodtke KK 50-10 RW Zugumlenkung oben links

Original Zugumlenkung oben links für den Kaminofen Wodtke KK 50-10 RW

Wodtke KK 50-10 RW Zugumlenkung oben links Eckdaten:

  • Rauchgasumlenkung, Flammenschild
  • Material Vermiculite
  • Position 18 in der Explosionszeichnung
Wodtke KK 50-10 RW Zugumlenkung oben mittig

Wodtke KK 50-10 RW Zugumlenkung oben mittig

Original Zugumlenkung oben mittig für den Kaminofen Wodtke KK 50-10 RW

Wodtke KK 50-10 RW Zugumlenkung oben mittig Eckdaten:

  • Rauchumlenkung, Flammenschild
  • Maße (B/L/H) 150 mm x 130 mm x 30 mm
  • Material Vermiculite
  • Position 17 in der Explosionszeichnung
Wodtke KK 50-10 RW Zugumlenkung oben rechts

Wodtke KK 50-10 RW Zugumlenkung oben rechts

Original Zugumlenkung oben rechts für den Kaminofen Wodtke KK 50-10 RW

Wodtke KK 50-10 RW Zugumlenkung oben rechts Eckdaten:

  • Prallplatte, Rauchumlenkung
  • Material Vermiculite
  • Position 18 in der Explosionszeichnung
Wodtke KK 50-10 RW Zugumlenkung unten

Wodtke KK 50-10 RW Zugumlenkung unten

Original Zugumlenkung unten für den Kaminofen Wodtke KK 50-10 RW

Wodtke KK 50-10 RW Zugumlenkung unten Eckdaten:

  • Rauchgasumlenkung, Prallplatte
  • Maße (B/L/H) 328 mm x 224 mm x 30 mm
  • Material Vermiculite
Wodtke KK 55 Zugumlenkung oben hinten

Wodtke KK 55 Zugumlenkung oben hinten

Original Zugumlenkung oben hinten für den Kaminofen Wodtke KK 55

Wodtke KK 55 Zugumlenkung oben hinten Eckdaten:

  • Rauchgasumlenkung, Prallplatte
  • Maße (B/L/H) 164/325 mm x 98 mm x 22 mm
  • Material Vermiculite
  • Position 16 in der Explosionszeichnung
Wodtke KK 55 Zugumlenkung oben vorne

Wodtke KK 55 Zugumlenkung oben vorne

Original Zugumlenkung oben vorne für den Kaminofen Wodtke KK 55

Wodtke KK 55 Zugumlenkung oben vorne Eckdaten:

  • Prallplatte, Umlenkung
  • Maße (B/L/H) 325 mm x 97 mm x 22 mm
  • Material Vermiculite
  • Position 17 in der Explosionszeichnung
Wodtke KK 55 Zugumlenkung unten Set

Wodtke KK 55 Zugumlenkung unten Set

Original Zugumlenkung unten Set für den Kaminofen Wodtke KK 55

  • Dieses Set ersetzt den bisherigen Gussrahmen samt Zugumlenkung unten. (ist nun anders konstruiert)
  • 3-teiliges Set

Wodtke KK 55 Zugumlenkung unten Eckdaten:

  • Material Vermiculite
  • gelochter Seitenstein links oben, gelochter Seitenstein rechts oben, Zugumlenkung unten
Wodtke KK 80-1 Zugumlenkung oben

Wodtke KK 80-1 Zugumlenkung oben

Original Zugumlenkung oben für den Kaminofen Wodtke KK 80-1

Wodtke KK 80-1 Zugumlenkung oben Eckdaten:

  • Rauchgasumlenkung, Prallplatte
  • Material Stahl
  • Position 6 in der Explosionszeichnung
Wodtke KK 80-1 Zugumlenkung unten

Wodtke KK 80-1 Zugumlenkung unten

Original Zugumlenkung unten für den Kaminofen Wodtke KK 80-1

Wodtke KK 80-1 Zugumlenkung unten Eckdaten:

  • Prallplatte, Rauchumlenkung
  • Maße (B/L/H) 195/185 mm x 320/290 mm x 30 mm
  • Material Vermiculite
  • Position 7 in der Explosionszeichnung
Wodtke KK 80-2 Zugumlenkung oben

Wodtke KK 80-2 Zugumlenkung oben

Original Zugumlenkung oben für den Kaminofen Wodtke KK 80-2

Wodtke KK 80-2 Zugumlenkung oben Eckdaten:

  • Rauchgasumlenkung, Rauchumlenkung
  • Material Stahl
  • Position 6 in der Explosionszeichnung
Wodtke KK 80-2 Zugumlenkung unten

Wodtke KK 80-2 Zugumlenkung unten

Original Zugumlenkung unten für den Kaminofen Wodtke KK 80-2

Wodtke KK 80-2 Zugumlenkung unten Eckdaten:

  • Rauchgasumlenkung, Flammenschild
  • Maße (B/L/H) 195/185 mm x 320/290 mm x 30 mm
  • Material Vermiculite
  • Position 7 in der Explosionszeichnung
Wodtke KK 93 Zugumlenkung oben

Wodtke KK 93 Zugumlenkung oben

Original Zugumlenkung oben für den Kaminofen Wodtke KK 93

Wodtke KK 93 Zugumlenkung oben Eckdaten:

  • Rauchumlenkung, Umlenkung
  • Material Vermiculite
  • Position 18 in der Explosionszeichnung
Wodtke KK 93 Zugumlenkung unten

Wodtke KK 93 Zugumlenkung unten

Original Zugumlenkung unten für den Kaminofen Wodtke KK 93

Wodtke KK 93 Zugumlenkung unten Eckdaten:

  • Rauchgasumlenkung, Rauchumlenkung
  • Material Vermiculite
  • Position 17 in der Explosionszeichnung
Wodtke KK 94 Zugumlenkung oben

Wodtke KK 94 Zugumlenkung oben

Original Zugumlenkung oben für den Kaminofen Wodtke KK 94

Wodtke KK 94 Zugumlenkung oben Eckdaten:

  • Prallplatte, Rauchumlenkung
  • Material Stahl
  • Position 14 in der Explosionszeichnung
Wodtke KK 95 Zugumlenkung mittig

Wodtke KK 95 Zugumlenkung mittig

Original Zugumlenkung mittig für den Kaminofen Wodtke KK 95

Wodtke KK 95 Zugumlenkung mittig Eckdaten:

  • Rauchumlenkung, Flammenschild
  • Maße (B/L/H) 280 mm x 196 mm x 20 mm
  • Material Vermiculite
  • Position 18 in der Explosionszeichnung
Wodtke KK 95 Zugumlenkung oben

Wodtke KK 95 Zugumlenkung oben

Original Zugumlenkung oben für den Kaminofen Wodtke KK 95

  • 2-teiliges Set

Wodtke KK 95 Zugumlenkung oben Eckdaten:

  • Rauchumlenkung, Flammenschild
  • Material Vermiculite
  • Position 19 in der Explosionszeichnung
Wodtke KK 95 Zugumlenkung unten

Wodtke KK 95 Zugumlenkung unten

Original Zugumlenkung unten für den Kaminofen Wodtke KK 95

Wodtke KK 95 Zugumlenkung unten Eckdaten:

  • Rauchumlenkung, Umlenkung
  • Maße (B/L/H) 280 mm x 280 mm x 30 mm
  • Material Vermiculite
  • Position 17 in der Explosionszeichnung
Wodtke KK 95-1 Zugumlenkung mittig

Wodtke KK 95-1 Zugumlenkung mittig

Original Zugumlenkung mittig für den Kaminofen Wodtke KK 95-1

Wodtke KK 95-1 Zugumlenkung mittig Eckdaten:

  • Prallplatte, Umlenkung
  • Maße (B/L/H) 280 mm x 196 mm x 20 mm
  • Material Vermiculite
  • Position 18 in der Explosionszeichnung
Wodtke KK 95-1 Zugumlenkung oben

Wodtke KK 95-1 Zugumlenkung oben

Original Zugumlenkung oben für den Kaminofen Wodtke KK 95-1

  • 2-teiliges Set

Wodtke KK 95-1 Zugumlenkung oben Eckdaten:

  • Rauchgasumlenkung, Umlenkung
  • Material Vermiculite
  • Position 19 in der Explosionszeichnung
Wodtke KK 95-1 Zugumlenkung unten

Wodtke KK 95-1 Zugumlenkung unten

Original Zugumlenkung unten für den Kaminofen Wodtke KK 95-1

Wodtke KK 95-1 Zugumlenkung unten Eckdaten:

  • Rauchgasumlenkung, Umlenkung
  • Maße (B/L/H) 280 mm x 280 mm x 30 mm
  • Material Vermiculite
  • Position 17 in der Explosionszeichnung
Wodtke KK 99 Zugumlenkung oben hinten

Wodtke KK 99 Zugumlenkung oben hinten

Original Zugumlenkung oben hinten für den Kaminofen Wodtke KK 99

Wodtke KK 99 Zugumlenkung oben hinten Eckdaten:

  • Rauchgasumlenkung, Prallplatte
  • Maße (B/L/H) 164/325 mm x 98 mm x 22 mm
  • Material Vermiculite
  • Position 15 in der Explosionszeichnung
Wodtke KK 99 Zugumlenkung oben vorne

Wodtke KK 99 Zugumlenkung oben vorne

Original Zugumlenkung oben vorne für den Kaminofen Wodtke KK 99

Wodtke KK 99 Zugumlenkung oben vorne Eckdaten:

  • Rauchgasumlenkung, Prallplatte
  • Maße (B/L/H) 325 mm x 97 mm x 22 mm
  • Material Vermiculite
  • Position 16 in der Explosionszeichnung
Wodtke KK 99 Zugumlenkung unten

Wodtke KK 99 Zugumlenkung unten

Original Zugumlenkung unten für den Kaminofen Wodtke KK 99

Wodtke KK 99 Zugumlenkung unten Eckdaten:

  • Rauchgasumlenkung, Flammenschild
  • Maße (B/L/H) 300 mm x 246 mm x 30 mm
  • Material Vermiculite
  • Position 14 in der Explosionszeichnung
Wodtke Momo Water Zugumlenkung mittig links

Wodtke Momo Water Zugumlenkung mittig links

Original Zugumlenkung mittig links für den Kaminofen Wodtke Momo Water

Wodtke Momo Water Zugumlenkung mittig links Eckdaten:

  • Prallplatte, Flammenschild
  • Material Stahl
  • Position 21 in der Explosionszeichnung
Wodtke Momo Water Zugumlenkung mittig rechts

Wodtke Momo Water Zugumlenkung mittig rechts

Original Zugumlenkung mittig rechts für den Kaminofen Wodtke Momo Water

Wodtke Momo Water Zugumlenkung mittig rechts Eckdaten:

  • Prallplatte, Rauchumlenkung
  • Material Stahl
  • Position 16 in der Explosionszeichnung
Wodtke Momo Water Zugumlenkung oben links

Wodtke Momo Water Zugumlenkung oben links

Original Zugumlenkung oben links für den Kaminofen Wodtke Momo Water

Wodtke Momo Water Zugumlenkung oben links Eckdaten:

  • Rauchumlenkung, Umlenkung
  • Material Vermiculite
  • Position 18 in der Explosionszeichnung
Wodtke Momo Water Zugumlenkung oben mittig

Wodtke Momo Water Zugumlenkung oben mittig

Original Zugumlenkung oben mittig für den Kaminofen Wodtke Momo Water

Wodtke Momo Water Zugumlenkung oben mittig Eckdaten:

  • Rauchumlenkung, Flammenschild
  • Maße (B/L/H) 150 mm x 130 mm x 30 mm
  • Material Vermiculite
  • Position 17 in der Explosionszeichnung
Wodtke Momo Water Zugumlenkung oben rechts

Wodtke Momo Water Zugumlenkung oben rechts

Original Zugumlenkung oben rechts für den Kaminofen Wodtke Momo Water

Wodtke Momo Water Zugumlenkung oben rechts Eckdaten:

  • Rauchgasumlenkung, Flammenschild
  • Material Vermiculite
  • Position 18 in der Explosionszeichnung
Wodtke Momo Water Zugumlenkung unten

Wodtke Momo Water Zugumlenkung unten

Original Zugumlenkung unten für den Kaminofen Wodtke Momo Water

  • Der Hersteller hat die Produktion dieses Artikels eingestellt. Sofern wir über einen Restbestand verfügen, ist dieses Ersatzteil bei uns erhältlich

Wodtke Momo Water Zugumlenkung unten Eckdaten:

  • Rauchgasumlenkung, Umlenkung
  • Maße (B/L/H) 328 mm x 224 mm x 30 mm
  • Material Vermiculite
Wodtke Momo Zugumlenkung mittig links

Wodtke Momo Zugumlenkung mittig links

Original Zugumlenkung mittig links für den Kaminofen Wodtke Momo KK50-10 RW

Wodtke Momo KK50-10 RW Zugumlenkung mittig links Eckdaten:

  • Rauchumlenkung, Flammenschild
  • Material Stahl
  • Position 21 in der Explosionszeichnung
Wodtke Momo Zugumlenkung mittig rechts

Wodtke Momo Zugumlenkung mittig rechts

Original Zugumlenkung mittig rechts für den Kaminofen Wodtke Momo KK50-10 RW

Wodtke Momo KK50-10 RW Zugumlenkung mittig rechts Eckdaten:

  • Umlenkung, Flammenschild
  • Material Stahl
  • Position 16 in der Explosionszeichnung
Wodtke Momo Zugumlenkung oben links

Wodtke Momo Zugumlenkung oben links

Original Zugumlenkung oben links für den Kaminofen Wodtke Momo KK50-10 RW

Wodtke Momo KK50-10 RW Zugumlenkung oben links Eckdaten:

  • Umlenkung, Flammenschild
  • Maße (B/L/H) 120 mm x 150 mm x 30 mm
  • Material Vermiculite
  • Position 18 in der Explosionszeichnung
Wodtke Momo Zugumlenkung oben mittig

Wodtke Momo Zugumlenkung oben mittig

Original Zugumlenkung oben mittig für den Kaminofen Wodtke Momo KK50-10 RW

Wodtke Momo KK50-10 RW Zugumlenkung oben mittig Eckdaten:

  • Prallplatte, Flammenschild
  • Maße (B/L/H) 150 mm x 130 mm x 30 mm
  • Material Vermiculite
  • Position 17 in der Explosionszeichnung
Wodtke Momo Zugumlenkung oben rechts

Wodtke Momo Zugumlenkung oben rechts

Original Zugumlenkung oben rechts für den Kaminofen Wodtke Momo

Wodtke Momo Zugumlenkung oben rechts Eckdaten:

  • Prallplatte, Flammenschild
  • Material Vermiculite
  • Position 18 in der Explosionszeichnung
Wodtke Momo Zugumlenkung unten

Wodtke Momo Zugumlenkung unten

Original Zugumlenkung unten für den Kaminofen Wodtke Momo KK50-10 RW

Wodtke Momo KK50-10 RW Zugumlenkung unten Eckdaten:

  • Rauchgasumlenkung, Prallplatte
  • Maße (B/L/H) 224 mm x 328 mm x 30 mm
  • Material Vermiculite
Wodtke New Look Zugumlenkung unten

Wodtke New Look Zugumlenkung unten

Original Zugumlenkung unten für den Kaminofen Wodtke New Look KK61

  • 2-teiliges Set

Wodtke New Look KK61 Zugumlenkung unten Eckdaten:

  • Prallplatte, Flammenschild
  • Material Vermiculite
Wodtke Pat air+ Zugumlenkung

Wodtke Pat air+ Zugumlenkung

Original Zugumlenkung für den Pelletofen Wodtke Pat air+

Wodtke Pat air+ Zugumlenkung Eckdaten:

  • Rauchgasumlenkung, Umlenkung
  • Maße (B/L/H) 304 mm x 136 mm x 6 mm
  • Material Stahl
  • Position 8 in der Explosionszeichnung
Wodtke Pat water+ Zugumlenkung oben

Wodtke Pat water+ Zugumlenkung oben

Original Zugumlenkung oben für den Pelletofen Wodtke Pat water+

Wodtke Pat water+ Zugumlenkung oben Eckdaten:

  • Rauchgasumlenkung, Prallplatte
  • mit Durchbrandschlitz 276 mm
  • Position 10.1 in der Explosionszeichnung
Wodtke Pat water+ Zugumlenkung unten

Wodtke Pat water+ Zugumlenkung unten

Original Zugumlenkung unten für den Pelletofen Wodtke Pat water+

Wodtke Pat water+ Zugumlenkung unten Eckdaten:

  • Rauchumlenkung, Flammenschild
  • Maße (B/L/H) 275 mm x 120 mm x 15 mm
  • Material Stahl
  • Position 10.2 in der Explosionszeichnung
Wodtke PE Einbaugerät water+ Zugumlenkung oben

Wodtke PE Einbaugerät water+ Zugumlenkung oben

Original Zugumlenkung oben für den Pelletofen Wodtke PE Einbaugerät water+

Wodtke PE Einbaugerät water+ Zugumlenkung oben Eckdaten:

  • Rauchumlenkung, Umlenkung
  • mit Durchbrandschlitz 276 mm
  • Position 8 in der Explosionszeichnung
Wodtke PE Einbaugerät water+ Zugumlenkung unten

Wodtke PE Einbaugerät water+ Zugumlenkung unten

Original Zugumlenkung unten für den Pelletofen Wodtke PE Einbaugerät water+

Wodtke PE Einbaugerät water+ Zugumlenkung unten Eckdaten:

  • Prallplatte, Umlenkung
  • Maße (B/L/H) 275 mm x 120 mm x 15 mm
  • Material Stahl
  • Position 30 in der Explosionszeichnung
Wodtke PE Nova Einbaugerät air+ Zugumlenkung

Wodtke PE Nova Einbaugerät air+ Zugumlenkung

Original Zugumlenkung für den Pelletofen Wodtke PE Nova Einbaugerät air+

Wodtke PE Nova Einbaugerät air+ Zugumlenkung Eckdaten:

  • Prallplatte, Flammenschild
  • Maße (B/L/H) 304 mm x 136 mm x 6 mm
  • Material Stahl
  • Position 10 in der Explosionszeichnung
Wodtke PE Nova Einbaugerät water+ Zugumlenkung oben

Wodtke PE Nova Einbaugerät water+ Zugumlenkung oben

Original Zugumlenkung oben für den Pelletofen Wodtke PE Nova Einbaugerät water+

Wodtke PE Nova Einbaugerät water+ Zugumlenkung oben Eckdaten:

  • Prallplatte, Flammenschild
  • mit Durchbrandschlitz 276 mm
  • Position 8 in der Explosionszeichnung
Wodtke PE Nova Einbaugerät water+ Zugumlenkung unten

Wodtke PE Nova Einbaugerät water+ Zugumlenkung unten

Original Zugumlenkung unten für den Pelletofen Wodtke PE Nova Einbaugerät water+

Wodtke PE Nova Einbaugerät water+ Zugumlenkung unten Eckdaten:

  • Rauchumlenkung, Umlenkung
  • Maße (B/L/H) 275 mm x 120 mm x 15 mm
  • Material Stahl
  • Position 30 in der Explosionszeichnung
Wodtke Primo Zugumlenkung oben

Wodtke Primo Zugumlenkung oben

Original Zugumlenkung oben für den Kaminofen Wodtke Primo

Wodtke Primo Zugumlenkung oben Eckdaten:

  • Rauchumlenkung, Flammenschild
  • Maße (B/L/H) 65/391 mm x 139 mm x 20 mm
  • Material Vermiculite
  • Position 7 in der Explosionszeichnung
Wodtke Ray air+ Zugumlenkung

Wodtke Ray air+ Zugumlenkung

Original Zugumlenkung für den Pelletofen Wodtke Ray air+

Wodtke Ray air+ Zugumlenkung Eckdaten:

  • Prallplatte, Rauchumlenkung
  • Maße (B/L/H) 304 mm x 136 mm x 6 mm
  • Material Stahl
  • Position 8 in der Explosionszeichnung
Wodtke Ray water+ Zugumlenkung oben

Wodtke Ray water+ Zugumlenkung oben

Original Zugumlenkung oben für den Pelletofen Wodtke Ray water+

Wodtke Ray water+ Zugumlenkung oben Eckdaten:

  • Prallplatte, Flammenschild
  • mit Durchbrandschlitz 276 mm
  • Position 8 in der Explosionszeichnung
Wodtke Ray water+ Zugumlenkung unten

Wodtke Ray water+ Zugumlenkung unten

Original Zugumlenkung unten für den Pelletofen Wodtke Ray water+

Wodtke Ray water+ Zugumlenkung unten Eckdaten:

  • Rauchgasumlenkung, Rauchumlenkung
  • Maße (B/L/H) 275 mm x 120 mm x 15 mm
  • Material Stahl
  • Position 9 in der Explosionszeichnung
Wodtke Smart air+ Zugumlenkung

Wodtke Smart air+ Zugumlenkung

Original Zugumlenkung für den Pelletofen Wodtke Smart air+

Wodtke Smart air+ Zugumlenkung Eckdaten:

  • Umlenkung, Flammenschild
  • Maße (B/L/H) 304 mm x 136 mm x 6 mm
  • Material Stahl
  • Position 12 in der Explosionszeichnung
Wodtke Sun Zugumlenkung oben hinten

Wodtke Sun Zugumlenkung oben hinten

Original Zugumlenkung oben hinten für den Kaminofen Wodtke Sun

Wodtke Sun Zugumlenkung oben hinten Eckdaten:

  • Rauchgasumlenkung, Prallplatte
  • Maße (B/L/H) 164/325 mm x 98 mm x 22 mm
  • Material Vermiculite
  • Position 16 in der Explosionszeichnung
Wodtke Sun Zugumlenkung oben vorne

Wodtke Sun Zugumlenkung oben vorne

Original Zugumlenkung oben vorne für den Kaminofen Wodtke Sun

Wodtke Sun Zugumlenkung oben vorne Eckdaten:

  • Rauchgasumlenkung, Prallplatte
  • Maße (B/L/H) 325 mm x 97 mm x 22 mm
  • Material Vermiculite
  • Position 17 in der Explosionszeichnung
Wodtke Tabo Zugumlenkung

Wodtke Tabo Zugumlenkung

Original Zugumlenkung für den Kaminofen Wodtke Tabo

Wodtke Tabo Zugumlenkung Eckdaten:

  • Prallplatte, Rauchumlenkung
  • Maße (B/L/H) 235 mm x 287 mm x 5 mm
  • Material Stahl
  • Position 10 in der Explosionszeichnung
Wodtke Tio Water Zugumlenkung unten

Wodtke Tio Water Zugumlenkung unten

Original Zugumlenkung unten für den Kaminofen Wodtke Tio Water

Wodtke Tio Water Zugumlenkung unten Eckdaten:

  • Rauchgasumlenkung, Rauchumlenkung
  • Maße (B/L/H) 328 mm x 224 mm x 30 mm
  • Material Vermiculite
Wodtke Toyo Zugumlenkung

Wodtke Toyo Zugumlenkung

Original Zugumlenkung für den Kaminofen Wodtke Toyo

Wodtke Toyo Zugumlenkung Eckdaten:

  • Rauchumlenkung, Flammenschild
  • Maße (B/L/H) 235 mm x 287 mm x 5 mm
  • Material Stahl
Wodtke Vision 7 Zugumlenkung oben

Wodtke Vision 7 Zugumlenkung oben

Original Zugumlenkung oben für den Kaminofen Wodtke Vision 7

Wodtke Vision 7 Zugumlenkung oben Eckdaten:

  • Rauchgasumlenkung, Prallplatte
Wodtke Vision 7 Zugumlenkung unten

Wodtke Vision 7 Zugumlenkung unten

Original Zugumlenkung unten für den Kaminofen Wodtke Vision 7

Wodtke Vision 7 Zugumlenkung unten Eckdaten:

  • Umlenkung, Flammenschild
Wodtke Vivo Zugumlenkung hinten

Wodtke Vivo Zugumlenkung hinten

Original Zugumlenkung hinten für den Kaminofen Wodtke Vivo KK 45 F

Wodtke Vivo KK 45 F Zugumlenkung hinten Eckdaten:

  • Rauchumlenkung, Umlenkung
Wodtke Vivo Zugumlenkung oben

Wodtke Vivo Zugumlenkung oben

Original Zugumlenkung oben für den Kaminofen Wodtke Vivo KK 45 F

Wodtke Vivo KK 45 F Zugumlenkung oben Eckdaten:

  • Rauchgasumlenkung, Umlenkung
Wodtke Vivo Zugumlenkung unten

Wodtke Vivo Zugumlenkung unten

Original Zugumlenkung unten für den Kaminofen Wodtke Vivo KK 45 F

Wodtke Vivo KK 45 F Zugumlenkung unten Eckdaten:

  • Rauchgasumlenkung, Prallplatte

Wodtke Ersatzteil Anfrage

Captcha
Beratung unter:
040 / 28 48 48 210

Ihre Vorteile

  • Mehr als 15 Jahre Erfahrung
  • Kostenlose Fachberatung
  • Original Ersatzteile
  • Kurze Lieferzeit