Ersatzteile für Wodtke Cookie Kaminofen

Wodtke Cookie Ersatzteile

Wodtke überzeugt durch moderne Technik, Funktionalität und die Verarbeitung hochwertiger Materialien. Diese Qualität spiegelt sich in dem Wodtke Cookie wieder. Auch ein hochwertiger Kaminofen wie der Wodtke Cookie bedarf der richtigen Pflege und dem rechtzeitigen Austauschen defekter Teile. Alle benötigten Ersatzteile für Ihren Wodtke Cookie finden Sie bei uns im Shop, wie zum Beispiel:

  
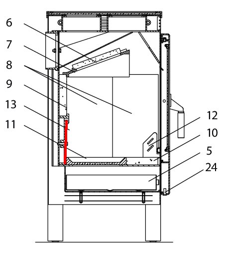
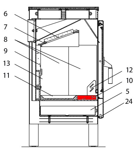
  Ascherost
  Bodenstein
  Halterung
  Rückwandstein
  Seitenstein
  Sichtscheibe
  Stehrost
  Türfeder
  Zugumlenkung

Wodtke Cookie Ersatzteile – günstig online bestellen

Wodtke Cookie Ascherost

Wodtke Cookie Ascherost

Original Ascherost für den Kaminofen Wodtke Cookie H 01

Wodtke Cookie H 01 Ascherost Eckdaten:

  • Feuerrost, Brennofenrost
  • Maße (B/L/H) 317 mm x 235 mm x 30 mm
  • Position 11 in der Explosionszeichnung
Wodtke Cookie Bodenstein vorne

Wodtke Cookie Bodenstein vorne

Original Bodenstein vorne für den Kaminofen Wodtke Cookie

Wodtke Cookie Bodenstein vorne Eckdaten:

  • Brennraumstein, Feuerraumstein
  • Material Schamotte
  • Position 10 in der Explosionszeichnung
Wodtke Cookie Ceranplatte Dichtung

Wodtke Cookie Ceranplatte Dichtung

Dichtung für Ceranplatte Set für den Kaminofen Wodtke Cookie H 01

  • 7-teiliges Set

Wodtke Cookie H 01 Dichtung für Ceranplatte Eckdaten:

  • Kordeldichtung
  • Durchmesser 10 mm, Länge 3 m
  • Kleber
  • Tube, Inhalt 17 ml
  • Dichtungsabbinder
  • 4 Streifen
  • Dichtungshülse
  • 1 Stück
Wodtke Cookie Rückwandplatte unten

Wodtke Cookie Rückwandplatte unten

Original Rückwandstein unten für den Kaminofen Wodtke Cookie

Wodtke Cookie Rückwandstein unten Eckdaten:

  • Brennraumstein, Feuerraumstein
  • Material Guss
Wodtke Cookie Rückwandstein oben links

Wodtke Cookie Rückwandstein oben links

Original Rückwandstein oben links für den Kaminofen Wodtke Cookie

Wodtke Cookie Rückwandstein oben links Eckdaten:

  • Brennraumstein, Feuerraumstein
  • Vermiculitesteine
  • Maße (B/L/H) 183 mm x 164 mm x 30 mm
  • Material Vermiculite
  • Position 9 in der Explosionszeichnung
Wodtke Cookie Rückwandstein oben rechts

Wodtke Cookie Rückwandstein oben rechts

Original Rückwandstein oben rechts für den Kaminofen Wodtke Cookie

Wodtke Cookie Rückwandstein oben rechts Eckdaten:

  • Brennraumstein, Feuerraumstein
  • Vermiculitesteine
  • Maße (B/L/H) 183 mm x 164 mm x 30 mm
  • Material Vermiculite
  • Position 9 in der Explosionszeichnung
Wodtke Cookie Scheibendichtung

Wodtke Cookie Scheibendichtung

Scheibendichtung für den Kaminofen Wodtke Cookie H 01

Wodtke Cookie H 01 Scheibendichtung Eckdaten:

  • Dichtschnur, Ofenschnur
  • Flachdichtung
  • Maße (B/H) 8 mm x 2 mm
  • Länge 3,00 m
  • selbstklebend
Wodtke Cookie Seitenstein links hinten

Wodtke Cookie Seitenstein links hinten

Original Seitenstein links hinten für den Kaminofen Wodtke Cookie H 01

Wodtke Cookie H 01 Seitenstein links hinten Eckdaten:

  • Brennofenstein, Ofenstein
  • Maße (B/L/H) 183 mm x 360 mm x 30 mm
  • Material Vermiculite
  • Position 8 in der Explosionszeichnung
Wodtke Cookie Seitenstein links vorne

Wodtke Cookie Seitenstein links vorne

Original Seitenstein links vorne für den Kaminofen Wodtke Cookie H 01

Wodtke Cookie H 01 Seitenstein links vorne Eckdaten:

  • Feuerraumstein, Brennofenstein
  • Maße (B/L/H) 183 mm x 360 mm x 30 mm
  • Material Vermiculite
  • Position 8 in der Explosionszeichnung
Wodtke Cookie Seitenstein rechts hinten

Wodtke Cookie Seitenstein rechts hinten

Original Seitenstein rechts hinten für den Kaminofen Wodtke Cookie H 01

Wodtke Cookie H 01 Seitenstein rechts hinten Eckdaten:

  • Brennraumstein, Brennofenstein
  • Maße (B/L/H) 183 mm x 360 mm x 30 mm
  • Material Vermiculite
  • Position 8 in der Explosionszeichnung
Wodtke Cookie Seitenstein rechts vorne

Wodtke Cookie Seitenstein rechts vorne

Original Seitenstein rechts vorne für den Kaminofen Wodtke Cookie H 01

Wodtke Cookie H 01 Seitenstein rechts vorne Eckdaten:

  • Kaminofenstein, Ofenstein
  • Maße (B/L/H) 183 mm x 360 mm x 30 mm
  • Material Vermiculite
  • Position 8 in der Explosionszeichnung
Wodtke Cookie Sichtscheibe

Wodtke Cookie Sichtscheibe

Original Sichtscheibe für den Kaminofen Wodtke Cookie

Wodtke Cookie Sichtscheibe Eckdaten:

  • Glaskeramik, Türglas
  • Maße (B/L/H) 350 mm x 410 mm x 5 mm
  • Material Glas
  • hitzebeständig
  • Position 2 in der Explosionszeichnung
Wodtke Cookie Stehrost

Wodtke Cookie Stehrost

Original Stehrost für den Kaminofen Wodtke Cookie H 01

Wodtke Cookie H 01 Stehrost Eckdaten:

  • Glutfang, Aschefang
  • Position 12 in der Explosionszeichnung
Wodtke Cookie Türdichtung

Wodtke Cookie Türdichtung

Türdichtung für den Kaminofen Wodtke Cookie

  • Wir empfehlen einen Kleber für die Montage, der durch punktuelles Auftragen, unterstützend wirken kann.
  • Auch empfehlen wir Dichtungsabbinder, damit die Dichtschnur-Enden nicht ausfransen.
  • Als optisches Highlight bieten wir ebenfalls Dichtungshülsen an.

Wodtke Cookie Türdichtung Eckdaten:

  • Dichtung, Holzofenschnur
  • Kordeldichtung
  • Länge 3,00 m
  • Durchmesser 10 mm
Wodtke Cookie Türdichtung Set

Wodtke Cookie Türdichtung Set

Türdichtung Set für den Kaminofen Wodtke Cookie H 01

  • 7-teiliges Set

Wodtke Cookie H 01 Türdichtung Eckdaten:

  • 7 Stück
  • Kordeldichtung
  • Durchmesser 10 mm, Länge 3 m
  • Kleber
  • Tube, Inhalt 17 ml
  • Dichtungsabbinder
  • 4 Streifen
  • Dichtungshülse
  • 1 Stück
Wodtke Cookie Türfeder unten

Wodtke Cookie Türfeder unten

Original Türfeder unten für den Kaminofen Wodtke Cookie

Wodtke Cookie Türfeder unten Eckdaten:

  • Spannfeder, Zugfeder
  • Länge 4,6 cm
  • Durchmesser 15 mm
  • Material Metall
Wodtke Cookie Zugumlenkung

Wodtke Cookie Zugumlenkung

Original Zugumlenkung für den Kaminofen Wodtke Cookie H 01

Wodtke Cookie H 01 Zugumlenkung Eckdaten:

  • Prallplatte, Umlenkung
  • Maße (B/L/H) 235 mm x 209 mm x 20 mm
  • Material Vermiculite
  • Form rechteckig
  • Position 6 in der Explosionszeichnung
Wodtke Cookie Zugumlenkung Halterung

Wodtke Cookie Zugumlenkung Halterung

Original Halterung für Zugumlenkung für den Kaminofen Wodtke Cookie

Wodtke Cookie Halterung für Zugumlenkung Eckdaten:

  • Haltevorrichtung, Halter
  • Material Guss
  • Position 7 in der Explosionszeichnung

Wodtke Ersatzteil Anfrage

Captcha
Beratung unter:
040 / 28 48 48 210

Ihre Vorteile

  • Mehr als 15 Jahre Erfahrung
  • Kostenlose Fachberatung
  • Original Ersatzteile
  • Kurze Lieferzeit